Estimated read time: 1-2 minutes
This archived news story is available only for your personal, non-commercial use. Information in the story may be outdated or superseded by additional information. Reading or replaying the story in its archived form does not constitute a republication of the story.
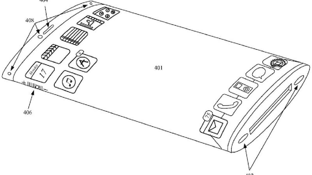
NEW YORK (CNNMoney) — The "back" of an Apple iPhone could become a thing of the past, thanks to a wrap-around display screen.
Apple was granted a patent Tuesday for a 360-degree screen, which would put a display on all sides of an iPhone: front, back and side.
"The wrap-around display substantially increases the available display area that can be used for display of icons, data, images, video and such," said the application.
Apple's application says the 360-degree screen would let customers play video games or watch videos that would play on both sides of the phone. It could also display a still photo that would appear in a continuous loop around the iPhone.
All of the switches that are currently found on the side of the iPhone would become virtual rather than physical buttons, according to the patent application. Those switches, such as volume control, could be expanded in size.
The patent application doesn't disclose any details about actual plans to incorporate this feature into an upcoming version of an iPhone. Very often patents are granted for innovations that are not brought to market by the patent holder for reasons such as the cost of the new device or problems with getting it to function in the real world.
Apple did not immediately respond to a request for comment on this new application.
Copyright 2016 Cable News Network. Turner Broadcasting System, Inc. All Rights Reserved.









